Nordica Fulvia Liberty pergamena krbová kamna
- Doprava ZDARMA

- Kompletní specifikace
- Ke stažení
Nordica Fulvia Liberty pergamena krbová kamnaNení skladem36 900 Kč/ ks30 496 Kč bez DPH
Detailní popis produktu
NORDICA Fulvia
Prosklená jsou pro krbový pohled a přikládání, druhá pro vybírání popela z popelníku. Asi právě tato koncepce se líbí natolik, že při výběru koupě mnoho lidí dává přednost právě tomuto typu. Stále zůstává zachována koncepce vše v litině a druhý teplovzdušný plášt kachlový nebo z mastku. Dvojité spalování s oplachem skla předehřátým vzduchem zamezuje usazování zbytků hoření na skle. Rozšíření o třetí regulovaný vzduch(terciární), má kladný účinek na vysokou účinnost a snižování emisí CO2. Regulace třech vzduchů vyžaduje trochu zkoušení a praxe ale to většině lidí asi nedělá žádné potíže, jinak by nebyla tak oblíbená.
Bytelná dvouplášťová kamna mají vnitřní korpus z pozinkované oceli. Tato ochrana zcela vylučuje reznutí a řadí je v tomto směru mezi nezničitelné Uvnitř jsou vložené na sebe jednotlivé litinové desky vyplňující celý spalovací prostor. Vnitřní vroubkování litiny má vliv na hoření a zamezuje praskání. Otočný litinový rošt a popelník umožňují dlouhodobé topení bez vyhasnutí.V horní části ohniště, před výstupem do komína jsou vloženy dva deflektory. Ty mají za úkol jednak omezit plameny do komína ale i zlepšit průběh dohoření plynů ze dřeva.
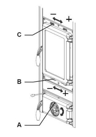
Zatápí se otevřením spodního (primárního) vzduchu šoupátkem nebo kolečkem na dvířkách . Vzduch pod rošt usnadňuje roztápění do studeného komínu! Po roztopení a nahřátí kamen se tento vzduch musí uzavřít a začne působit horní vzduch (sekundární). Regulační prvek je zpravidla nad přikládacími dvířky. U tohoto typu je jeden regulační prvek ve spodní části přikládacích dvířek. Vzduch se silně předehřívá v litinovém nástavci uvnitř ohniště. Takto horký vzduch je vyfukován štěrbinou v horní a spodní části skla dvířek a tím zamezuje usazování sazí. Druhou ale hlavní funkcí je slučování s plyny uvolněnými ze dřeva. Tomu se říká dvojité ekologické hoření. Nordica ale vyvinula systém ještě třetího vzduchu nad palivem, který se nazývá terciární. Pro dobrou stabilitu je podstavec vyroben z litiny, tak jako plotna.
Kolem takto vytvořené spalovací komory je vytvořena vzduchová štěrbina. Zde se chladný vzduch od podlahy průchodem mezi horkými stěnami ohřívá a vystupuje nahoře u plotny.
Fyzikální jev, že s teplotou stoupá rychlost proudění je zde velmi výhodný. Při sníženém topení stoupá vzduch pomalu, při intenzivnějším jde rychleji ale teplota se moc nemění.
Pro snížení povrchově teploty a také z estetického hlediska jsou na druhý plášť použity kachlové bloky nebo hornina- mastek. Široká nabídka tvarů obkladů, barev i provedení Vám výběr někdy neulehčí ale vždy získáte výrobek kvalitní, prověřený a s přijatelnou cenou.
Třízónové spalování paliva:
- 1. na roštu – primární
- 2. nad palivem – sekundární předehřátý horký sekundární vzduch se mísí s plyny za vývinu tepla
- 3. katalyzátor – terciální spalování
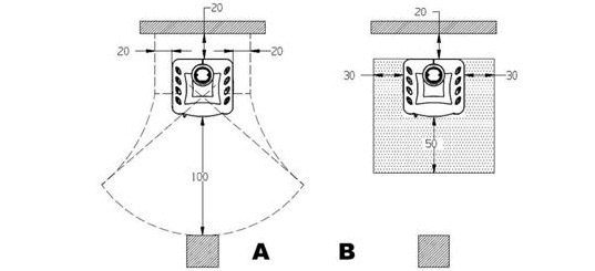
- Katalyzátor je třetí zóna vytvořena ze dvou deflektorů, které prodlužují dráhu plynů z paliva. Pod první deflektor vystupuje tryskami ze zadní litinové desky ohřátý vzduch o teplotě až 600°C - automatický terciální vzduch. V této třetí zóně dochází k chemickému slučování aromatických uhlovodíků se vzduchem za vývinu tepla - stoupá účinnost >78 % a snižuje se CO<0,2.
- maximální účinnost, nízká spotřeba paliva
- nízká povrchová teplota
- vnitřní část kamen z litiny - první plášť
- vnější kachlový obklad - druhý plášť
- spalovací prostor ze speciálně legované litiny
- litinový otočný rošt ovládaný vně kamen ulehčuje odstranění popela
- prosklená horní litinová dvířka s odolností 750 °C
- dolní litinová dvířka
- tepelně izolovaná rukojeť
- jemná regulace primárního a sekundárního vzduchu
- systém prohořívání paliva skrz rošt nahoru
Přenos tepla kombinací:
- sáláním přes sklo
- prouděním vzduchu ohřívaným mezi dvěma plášti
- akumulací tepla
- doba hoření 2 - 4 hod. v závislosti na druhu, velikosti a množství paliva
- doporučené palivo: dřevo, dřevěné brikety
| Výkon do vzduchu v kW: | 6 | ||
| Spotřeba paliva v kg/h: | 1,7 | ||
| Velikost kouřovodu v mm: | 120 | ||
| Vývod kouřovodu: | horní | ||
| Účinnost v %: | 82 | ||
| Hmotnost v kg: | 109 | ||
| Výhřevnost prostoru při zateplení 35W/1m3: | 172 | ||
| Velikost externího vzduchu v mm: | bez přímého napojení | ||
| Výška v mm: | 862 | ||
| Šířka v mm: | 488 | ||
| Hloubka v mm: | 477 | ||
| Typ spalování: | Třístupňové | ||
| Obklad: | keramika | ||
| Konstrukce spalovacího prostoru: | Litina | ||
| Typ roštu: | Otočný | ||
| Popelník: | Vyjímatelný | ||
| Velikost polen v mm: | 250 | ||
| Palivo: | dřevo, dřevěné brikety | ||
| Rozměr vstupního otvoru do spalovacího prostoru v mm: | 210x255 | ||
| Rozměry spalovacího prostoru v mm: | 273x370x320 | ||
| Přenos tepla: | konvekce | ||
| Doporučený tah komínu v Pa: | 12 | ||
| Hmotnostní průtok spalin v g/s: | 6 | ||
| Výstupní teplota spalin v °C: | 242 | ||
Potřebujete poradit?































