NORDICA Fulvia Forno Petra Kachlová kamna s troubou, mastek
- Doprava ZDARMA

- Kompletní specifikace
- Ke stažení
NORDICA Fulvia Forno Petra Kachlová kamna s troubou, mastekNení skladem51 000 Kč/ ks42 149 Kč bez DPH
NORDICA Fulvia Forno Mastek (petra)
NORDICA Fulvia s troubou - krbová kamna s kamenným obkladem, barva šedá - mastek (přírodní kámen)
Při pohledu na obrázky je zřejmé, že se jedná o pěkná malá kamna (pouze výkonem) ale vysoká. Klasická koncepce se dvěma dvířky a troubou. Odcházející kouřové spaliny mají ještě dostatečnou teplotu aby troubu vyhřáli na potřebnou teplotu. Trouba není velká, tak jako je malá konstrukce kamen ale pro upečení kuřete, masa, rozpékání pečiva nebo malého koláče se hodí na sto procent. Koncepce na výšku a mastkové obložení zvyšuje hmotnost a i po vyhasnutí ohně stále předává teplo. Prosklení je pro krbový pohled a přikládání, druhá pro vybírání popela z popelníku. Asi právě tato koncepce se líbí natolik, že při výběru koupě mnoho lidí dává přednost právě tomuto typu.
Stále zůstává zachována koncepce vše v litině a druhý teplovzdušný plášť kachlový nebo z mastku. Dvojité spalování s oplachem skla předehřátým vzduchem zamezuje usazování zbytků hoření na skle. Rozšíření o třetí regulovaný vzduch(terciární), má kladný účinek na vysokou účinnost a snižování emisí CO2. Regulace třech vzduchů vyžaduje trochu zkoušení a praxe ale to většině lidí asi nedělá žádné potíže, jinak by nebyla tak oblíbená.
Bytelná dvouplášťová kamna mají vnitřní korpus z pozinkované oceli. Tato ochrana zcela vylučuje reznutí a řadí je v tomto směru mezi nezničitelné Uvnitř jsou vložené na sebe jednotlivé litinové desky vyplňující celý spalovací prostor. Vnitřní vroubkování litiny má vliv na hoření a zamezuje praskání. Otočný litinový rošt a popelník umožňují dlouhodobé topení bez vyhasnutí.V horní části ohniště, před výstupem do komína jsou vloženy dva deflektory. Ty mají za úkol jednak omezit plameny do komína ale i zlepšit průběh dohoření plynů ze dřeva.
Ovládání při topení je velmi jednoduché. Zatápí se otevřením spodního (primárního) vzduchu šoupátkem nebo kolečkem na dvířkách . Vzduch pod rošt usnadňuje roztápění do studeného komínu! Po roztopení a nahřátí kamen se tento vzduch musí uzavřít a začne působit horní vzduch (sekundární). Regulační prvek je zpravidla nad přikládacími dvířky. U tohoto typu je jeden regulační prvek ve spodní části přikládacích dvířek. Vzduch se silně předehřívá v litinovém nástavci uvnitř ohniště. Takto horký vzduch je vyfukován štěrbinou v horní a spodní části skla dvířek a tím zamezuje usazování sazí. Druhou ale hlavní funkcí je slučování s plyny uvolněnými ze dřeva. Tomu se říká dvojité ekologické hoření. Nordica ale vyvinula systém ještě třetího vzduchu nad palivem, který se nazývá terciární. Pro dobrou stabilitu je podstavec vyroben z litiny, tak jako plotna.
Kolem takto vytvořené spalovací komory je vytvořena vzduchová štěrbina. Zde se chladný vzduch od podlahy průchodem mezi horkými stěnami ohřívá a vystupuje nahoře u plotny.
Fyzikální jev, že s teplotou stoupá rychlost proudění je zde velmi výhodný. Při sníženém topení stoupá vzduch pomalu, při intenzivnějším jde rychleji ale teplota se moc nemění.
Pro snížení povrchově teploty a také z estetického hlediska jsou na druhý plášť použity kachlové bloky nebo mastek. Široká nabídka tvarů obkladů, barev i provedení Vám výběr někdy neulehčí ale vždy získáte výrobek kvalitní, prověřený a s přijatelnou cenou
- trouba na pečení a ohřívání pokrmů
- rozměry trouby: Š x V x H = 227 x 296 x 290 mm
- Třízónové spalování paliva
- 1. na roštu – primární
- 2. nad palivem – sekundární předehřátý horký sekundární vzduch se mísí s plyny za vývinu tepla
- 3. katalyzátor – terciální spalování - Katalyzátor je třetí zóna vytvořena ze dvou deflektorů, které prodlužují dráhu plynů z paliva. Pod první deflektor vystupuje tryskami ze zadní litinové desky ohřátý vzduch o teplotě až 600°C - automatický terciální vzduch. V této třetí zóně dochází k chemickému slučování aromatických uhlovodíků se vzduchem za vývinu tepla - stoupá účinnost >78 % a snižuje se CO<0,2.
- maximální účinnost, nízká spotřeba paliva
- nízká povrchová teplota
- vnitřní část kamen z litiny - první plášť
- vnější kachlový obklad - druhý plášť
- spalovací prostor ze speciálně legované litiny
- litinový otočný rošt ovládaný vně kamen ulehčuje odstranění popela
- prosklená horní litinová dvířka s odolností 750 °C
- dolní litinová dvířka
- tepelně izolovaná rukojeť
- jemná regulace primárního a sekundárního vzduchu
- systém prohořívání paliva skrz rošt nahoru
- přenos tepla kombinací
- sáláním přes sklo
- prouděním vzduchu ohřívaným mezi dvěma plášti
- akumulací tepla
- doba hoření 2 - 4 hod. v závislosti na druhu, velikosti a množství paliva
- doporučené palivo: dřevo, dřevěné brikety
TECHNICKÉ PARAMETRY
Nominální výkon
6kW
Rozsah výkonu
3 - 7,3kW
Vytápěcí schopnost
60 - 180m3
Typ produktu
krbová kamna
Palivo
dřevo
Účinnost
82%
Rozměr - V x Š x H
1288 x 488 x 477mm
Váha s obalem (Brutto)
keramika 165 kg / mastek 183kg
Váha bez obalu (Netto)
keramika 155 kg / mastek 173kg
Ø kouřovodu
120mm
Povolená paliva
Dřevo, ekobrikety
Max. délka polena
25cm
Průměr kouřovodu
120mm
Zadní připojení kouřovodu
Ne
Prosklení
čelní
Emisní hodnota CO
0,06%
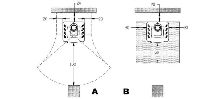
Vzdálenost od hořlavých materiálů za kamny
200mm
Vzdálenost od hořlavých materiálů před kamny
1000mm
Vzdálenost od hořlavých materiálů z boku kamen
150mm
Horní připojení kouřovodu
Ano
Externí přívod vzduchu
Ne
Vzdálenost od středu horního vývodu po zadní okraj kamen
125mm
Plotýnka
Ne
Výška horního napojení od země po límec kouřovodu
1338mm
Trouba
Ano
Velikost trouby (V x Š x H)
296x227x290mm
Potřebujete poradit?






























